Seringkali urutan produksi perlu mengambil satu rute atau rute lainnya berdasarkan faktork keputusan. Misalnya jika suatu produk bagus maka dilanjutkan ke operasi berikutnya, jika jelek maka produk tersebut ditolak. Pemrograman bagan SF mengatasi situasi seperti ini denganm mudah.
#Contoh 1: Gate produk NC 1 Silinder
Ketika tombol tekan START ditekan dan Gate ditutup (Gate SW ditekan), silinder pada Gambar 4.1 akan memanjang selama 3 detik dan kemudian kembali. Jika tombol start ditekan tetapi GATE tidak ditutup (Gatwe SW tidak ditekan), alarm akan berbunyi hingga GATE ditutup. Lampu siklus menyala selama silindert idak ditarik kembali.
Jika sakelar GATE (GUARD) ditutup dan tombol start ditekan maka transisi 1- 2 diaktifkan dan siklus silinder dimulai. Namun, jika GATE SW terbuka dan Tombol START ditekan maka transisi 1-5 menjadi aktif dan alarm berbunyi sampai GUARD SW ditutup.
#Contoh 2: Produk NC dengan dua Silinder Pneumatic
Silinder di atas akan mengeksekusi urutan A+ B+ B- A- terus menerus sampai tombol STOP ditekan ketika kedua silinder akan berhenti di akhir urutan.
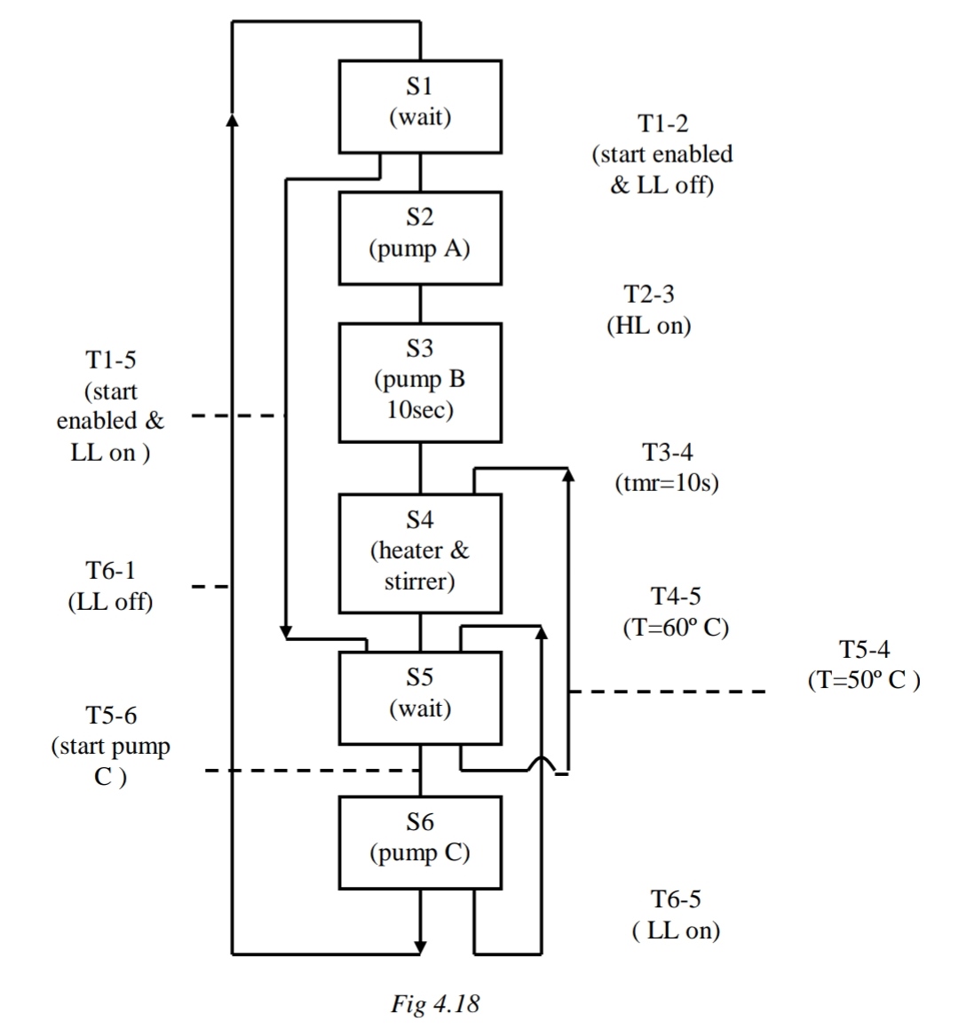
#Contoh 3: Pengaduk Cairan
2. Saat level cairan mencapai sakelar HIGH LEVEL (HL), Status 3 menjadi aktif dan pompa B berjalan 10 detik.
3. Setelah 10 detik, isi tangki siap dicampur (STRRIRER) dan dipanaskan; ini terjadi selama STATE 4.
4. Ketika suhu 60 º C tercapai, sistem memasuki STATE 5, di mana tidak ada OUTPUT yang diberi energi.
5. Saat Pompa C dihidupkan (secara manual) Keadaan 6 menjadi aktif. Jika tangki benar-benar terkuras oleh pompa C kemudian STATE 1 ON untuk memulai kembali siklus.
Namun jika pompa C dimatikan sementara masih ada cairan yang tersisa, maka Keadaan 5 menjadi aktif kembali.
6. Skenario lain terjadi jika, selama STATE 5 suhu campuran turun menjadi 50 º C. STATE 4 kemudian menjadi aktif dan campuran dipanaskan dan diaduk sekali lagi hingga suhu mencapai 60 º C.
7. Satu-satunya transisi yang tersisa untuk dipertimbangkan adalah T1-5. Ini terjadi jika ada cairan di dalam tangki saat sistem dihidupkan. Ketika relai penagkitfan START diberi energi STATE 5 Menjadi aktif diikuti STATE 4 jika suhu cairan kurang dari 50 º C atau STATE 6 jika cukup panas dan pompa C dihidupkan.
Ada dua rute menuju STATE 4 pada peta SF tetapi hanya satu rute yang keluar darinya.




















0 Response to "Pemrograman PLC Squensial 2: Selektive Branching"
Posting Komentar
Berkomentarlah dengan baik ^_^